The website doesn't support your browser. Please update your browser or download a different one
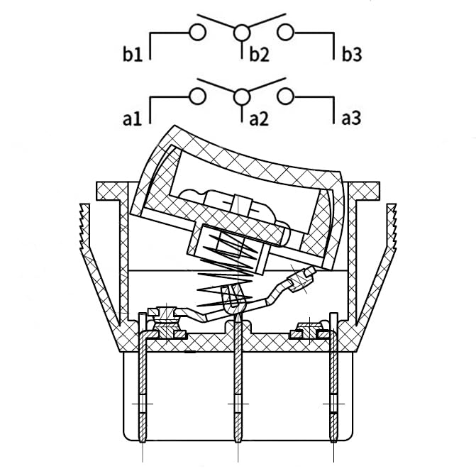
Heschen Rocker Switch ON-Off-ON DPDT 6 Terminals 16A 250VAC Black 2Pack
Current price
Price €35VAT included

Colour and size2
Your payments and privacy are safe







Safety & compliance

Manufacturer
Description

rtl52202
Similar products






















